手机:13953535387
邮箱:postmaster@yt-tonghe.com
传真:0535-6855506
地址:烟台市芝罘区西里工业园中路151号
随着人们购买力不断提高,汽车这种消费品已经是大多数家庭的标配。家里有辆车甚至是再稀松平常不过的事情,甚至2~3辆的也不在少数,而路上跑的豪车也是越来越多了。

越来越多的车,便造就了越来越大的汽车后市场服务。这个市场很大,准入门槛也很低,所以整个市场就有了各种参差不齐的商家。越来越多的商家,造就了汽车后市场越来越红海化的竞争,加上本身参差不齐的水平和素质,导致汽车后市场服务更是天差地别。对车主来说,有的车主拿车当“工具”,而有的车主拿车当“宝贝”,这就恰好造成了汽车后市场需求参差不齐的情况。在红海竞争日趋激烈的汽车后市场中,很多店铺和老板为了摆脱价格竞争,满足一部分对服务要求较为高端车主,开始为这些车主打造精品服务。

服务好了利润就多了,拿洗车来说:原来一个工位洗车20元一台,一天洗20台,就是400元,而抛去人工、房租和其他成本,真正到手的利润可能连100元都不到,甚至还亏本;如果做了高端精洗,比如一个店面只做高端精洗,98元一台车(甚至更高),1个工位一天8台,这样算下来一个工位一天至少300元以上利润,而且现在很多商家也看清了市场,对这用车养车要求比较高的的车主,绝不仅仅只有豪车车主,很多中档次车车主对服务的要求也越来越高,他们负担的起这一点养车成本,而得到的服务绝对不仅仅是低端服务能带给他的。

商家们越了解市场,就越知道店面的装修是仅次于店面位置的招牌,想要让更多的顾客登门,一个整洁高端的店面,绝对成为了刚需。只有先有了这些,才能有了更多上门客户,才能谈到营销方式和服务质量。为了满足店面整体布局简洁、高端和大气的需求,越来越多的店铺开始使用地藏举升机。

地藏式举升机从动力结构上来说,大体上分2类,即气动式于电动式。气动式出现时间略早,被广大消费者熟知,随着电动液压技术的完善,近些年很多原来使用气动的举升机、大梁校正等,都陆续换成了电动液压,随着电动液压的普及,电动液压的皇冠上的宝石——电动液压地藏举升机逐步在高端市场崭露头角。

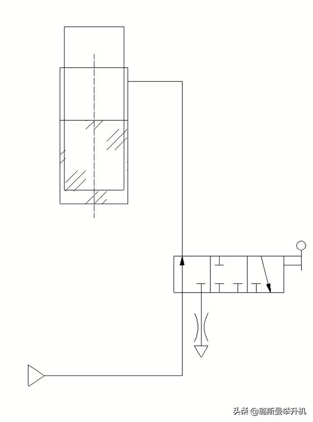
气动液压的原理是:通过压缩空气推动油缸活塞杆运行。
基本结构图如下:

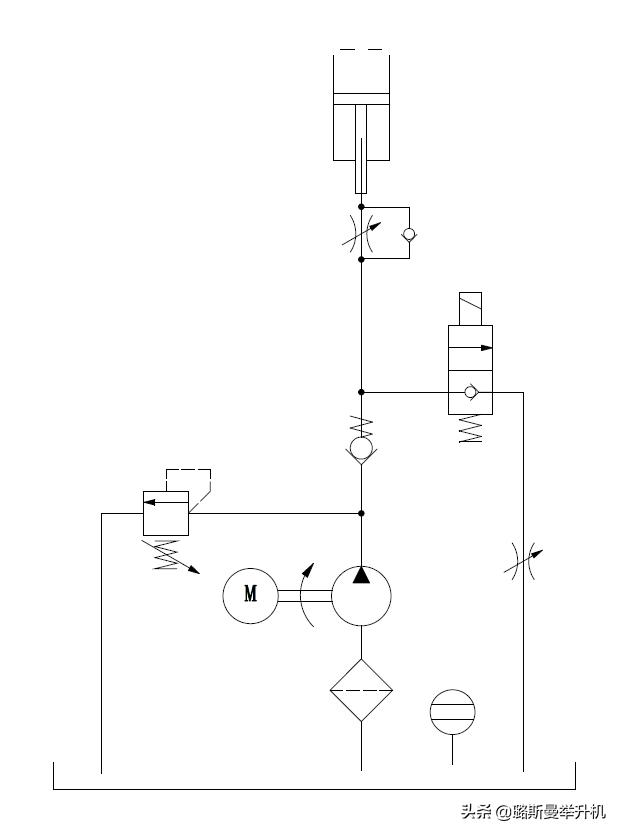
电动液压的原理是:直接以电机/泵站驱动油路内的液压油来使油缸工作。
基本结构图如下:

二者最根本的区别是:所用的能源不同
而正因为这个重要的区别,造就了电动液压装置和气动液压装置最大的区别:运行速率和稳定性不同。

由于电动液压装置直接由液压油推动活塞杆运动,而不是由气体推动液压油,加上液体稳定性高于气体稳定性,所以在上升/下降速率和稳定方面,由很大区别。
运行速率方面:
空气的压缩率远大于液压油,因此上升/下降速率不平稳、并且响应慢。以同样升高至1.8米计算,电动液压装置只需要约45秒左右,而气动液压则需要 110秒;

稳定性方面
电动液压由液体推动,上升速率均匀,不晃动;而气动液压因为存在“气动阻尼”,有阻尼系数在里边,外部温度不同,油密度不同,系数不一样,压缩比不一样。气缸上升/下降不可避免会产生抖动。

液压油用量方面
二者区别非常大。一般电动液压装置仅需要8升左右液压油即可;而气动液压装置一般需要150~160升液压油。按照液压油市价11元/升计算,换一次液压油,仅仅液压油成本就相差1600元之多。而且气动液压装置换油尤其是气动地藏式举升机换油时,液压油存储在油缸内,油缸埋置地下,更换一次很费劲,更换需要抽油机来抽取人工成本很贵。相比来说电动液压一般会将液压油存储在地面动力单元/电控柜的油箱内,操作十分简单。

安全方面
由于两种装置的原理不同,所以内部结构也完全不同。电动液压地藏举升机可以配置液压节流板,是一种下降时液压缓冲保险措施,并且可以增配机械锁,双重保险。而气动液压无法增配机械锁,在活塞到达顶端以前,整个托臂连同托举的汽车是可以360度旋转的,这点对于任何操作来说都非常不安全。

其他具体对比请见下表:

相关内容
/ RECOMMENDED NEWS